[行业新闻] MODEX2026 收官|AiTEN 亮相......
2026-04-18
[行业新闻] LogiMAT China 2026 会议......
2026-04-16
[行业新闻] 全球首发丨里工ChiroSync如意数采套......
2026-04-16
[行业新闻] 乐聚机器人|全国首条万台级人形机器人产线在......
2026-04-09
[行业新闻] 机器狗无人车茶山首次搭档!京东物流助力西湖......
2026-04-08
[行业新闻] AGV选型总踩坑?不同场景下潜伏、搬运、堆......
2026-04-07
12月16日晚间,山西上市公司东杰智能发布公告称,公司正在筹划发行股份及支付现金购买山东齐康智合创业投资管理有限公司(以下简称“山东齐康”)等交易对方合计持有的遨博(北京)智能科技股份有限公司(以下简称“北京遨博”)控股权并配套募集资金。
北京遨博为国内最大的协作机器人生产商,而东杰智能作为一家智能仓储行业龙头企业,与北京遨博具备高度的产业协同性。
东杰智能新董事长、实控人韩永光是北京遨博及其全资子公司山东遨博智能的董事,曾深度参与二者的运作。东杰智能若成功并购北京遨博,将打通机器人研发及生产制造全产业链,成为山西首个具备机器人整机生产能力的上市公司,及国内最大协作机器人产业上市企业,机器人生产将成为东杰智能主营业务之一。
01、山西机器人第一股将诞生
东杰智能于1995在山西成立,2015年登陆创业板,专注于提供全流程“物流+信息流”的智能制造综合方案,主要产品包括智能生产系统、智能物流仓储系统和智能立体停车系统。

作为一家智能仓储行业龙头企业,东杰智能在机器人产业方面早有布局。2025半年报显示,东杰智能已与中北大学共建物流搬运机器人先进产业技术研究院,进行工业机器人领域的研发;而东杰智能在太原中北高新区打造的第二生产基地是按智能无人工厂标准建设,主要制造智能装备及工业机器人。
此次拟并购的北京遨博是国家级专精特新小巨人企业、制造业单项冠军企业,目前已经推出多系列协作机器人及复合机器人、码垛工作站,主要应用于工业、新能源、3C、半导体等领域。
据淄博日报报道,北京遨博全资子公司山东遨博智能的协作机器人出货量连续5年国内第一、世界第二,国内市场占有率超过30%。韩永光曾深度参与北京遨博与山东遨博的运作,并担任北京遨博CEO及山东遨博董事长,现仍为两公司董事。
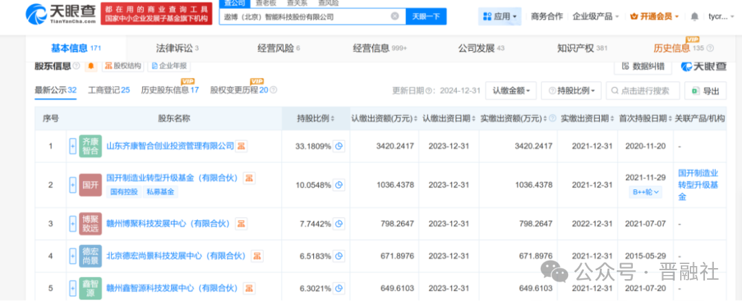
天眼查显示,山东齐康为北京遨博第一大股东,持股比例为33.18%;国开制造业转型升级基金持有北京遨博10.05%股权,为第二大股东。

此前,北京遨博智能已完成7轮融资,引入多家国家级产业基金。有媒体报道称,遨博已于前几年启动上市计划,但一直未有实质性进展。
此次交易完成后,北京遨博将成为东杰智能控股子公司,纳入上市公司旗下。东杰智能将因此成为山西首个具备机器人研发设计、生产组装、集成应用于一体的上市公司,及国内最大协作机器人生产企业。
02、东杰智能展业能力显著提升
事实上,对于遨博注入东杰智能,资本市场早有预期。
自东杰智能7月30日晚间释放出“易主”信号后,市场关注度颇高,公司股价持续大涨,从11.05元/股上涨至最高28.90元/股。截至2025年12月16日收盘,东杰智能股价报收21.59元/股,总市值103.02亿元。
今年8月26日,韩永光当选东杰智能董事长。10月24日,东杰智能控股股东股权变更完成,实控人由淄博市财政局变更为韩永光,韩永光
东杰智能“易主”时就表示,新的实际控制人将利用自身能够控制、影响的技术优势和产业资源优势,积极赋能公司现有产业迭代升级,为智慧仓储物流行业研发、提供具身智能解决方案,同时助力公司培育新的利润增长点,进一步拓宽在高端智能制造领域的业务版图。

自韩永光执掌东杰智能以来,东杰智能已与遨博合力拿下多项大单。
今年9月,东杰智能与山东遨博智能、马来西亚PTT SYNERGY GROUP BERHAD(简称“PTT”)签订框架协议,达成合作意向,总额不低于20亿马币(约合人民币30亿元),合作聚焦马来西亚自动化仓储设施建设。
11月20日,东杰智能发布公告称,拟向山东遨博采购机器人产品305台,用于提升公司自动化生产水平及推进马来西亚PTT项目等。
11月24日,东杰智能与山东遨博又合力签约海南一生物医药空港产业园项目,项目总投资111亿元。
此番并购与以往合作的不同之处在于,将山东遨博纳入麾下后,机器人生产制造将成为东杰智能的主营业务之一,成为公司新的业绩增长极。去年年底,时任北京遨博CEO韩永光表示,山东遨博智能将投资50亿元,在淄博建设占地300亩的机器人产业基地。计划在未来三年内,实现智能协作机器人年产量突破10万台,较2023年提升超过五倍。
2026“全国移动机器人行业活动”合作商招募中
报名热线:400-0756-518、13512726426 同微信
活动时间:2025-08-01至08-31
Copyright © 2018-2025, 服务热线 400-0756-518
www.zhineng518.com,All rights reserved
版权所有 © 518智能装备在线 未经许可 严禁复制 【冀ICP备19027659号-2】 【公安备13050002001911】
运营商:河北大为信息科技有限公司